ZFB型防閉塞裝置概述
ZFB系列防閉塞裝置也稱為倉壁振打器,是以振動器為激振源的產品,它是靠髙頻振動和沖擊力,有效地 消除由于內摩、潮解、帶電、成分偏析等原因引起的架橋、搭拱、堵塞現象,從而使物料從料倉口順利排出,保證穩定供料所必須的設備。ZFB系列防閉塞裝置(倉壁振打器)廣泛應用于冶金、化工、建材、火電、煤 炭、食品、水泥、磨料等行業。

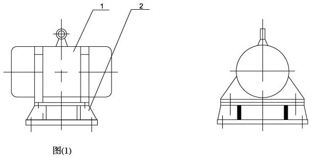
ZFB型防閉塞裝置結構原理
ZFB系列防閉塞裝置的結構如圖1所示。由振動電機(1)、底座(2)兩部分組成。振動電機和底座由螺栓緊密地固定為一體。由于底座緊固地安裝在料倉壁上,這樣就構成了單質點定向強迫振動系統。
當防閉塞裝置(倉壁振動器)工作時,振動電機的髙速轉動,便產生了對料倉壁的周期性高頻振動,由于防閉塞裝置的周期性振動,一方面使物料與倉壁脫離接觸、消除物料與倉壁的磨擦,另一方面使物料受交變速度和加速度的影響,處于不穩定狀態,從而有效地克服物料的內磨擦力和聚集力,以消除料倉內物料間的相對穩定性,使物料從料倉口順利排出。

激振力的調節
振動器激振力大小正比于偏心塊的質量,偏心距和角速度的平方。振動器每端出軸均有一個固定偏心塊和一個活動偏心塊、改變活動偏心塊與固定偏心塊之間的夾角即改變偏心質量,可得到不同的激振 力。電機激振力的大小等于固定偏心塊上的振動力標牌讀數乘以2/1000。電機出廠時固定偏心塊和活動偏心塊完全重合,激振力為額定激振力。

- 拆除電機兩端罩殼。
- 旋松兩端外側活動偏心塊夾緊螺栓。
- 兩端活動偏心塊同方向轉動,使活動偏心塊尖角對準激振力標牌上的所需刻度,擰緊偏心塊夾緊螺栓。
- 裝上罩殼。
技術參數
該產品執行標準參照JB5330-91《振動三相異步電動機》。
外形尺寸

注:ZFB系列倉壁振動器正確使用方法:頻繁的啟動,短時間使用(一般設定振打時間30秒左右)
